可操作权限:教务/学管专员/学管主管
注意:已确认上课的课程无法修改和作废。
教务可修改本校区“未确认”上课的数据;学管只能修改上课老师是自己且“未确认”上课的数据。
# 修改辅导课时间的条件限制
教务创建的: ①教务可修改,不限时间,不限次数;可作废; ②学管根据不同班型,修改限制不同—— a、教务按班课、一对二创建的学术辅导课,不允许学管更改时间;学管不可作废; b、教务按一对一创建的学术辅导课,只允许学管修改1次时间,且必须是7天内;学管不可作废;
学管创建的: ①教务不可修改,不可作废; ②学管本人:任何班型,学管只可修改1次,且必须是7天内修改;超过7天不可修改;学管本人可作废;
系统创建的: 1v1班型,学管只可修改1次,且必须是7天内修改;教务不限制修改次数和时长;教务、学管均不可手动作废;
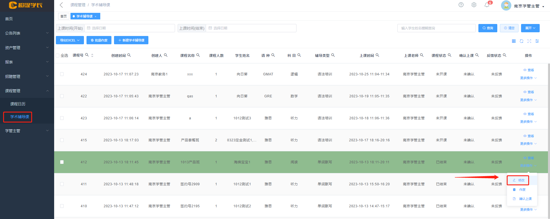
# (教务、学管主管修改排课)操作步骤
1、打开教务管理>>学术辅导课,点击“更多功能”按钮,点击“修改”按钮。
2、在“按学生”的修改弹框页面,可操作修改“科目、课程名称、辅导类型、上课时间和上课老师”。点击“提交”按钮,修改成功。
3、在“按套餐”的修改弹框页面,可操作修改“科目、学生、课程名称、辅导类型、上课时间和上课老师”。点击“提交”按钮,修改成功。
4、在学术辅导列表点击“查看”按钮,查看最新修改的数据;排课日历的辅导课排课也同步更新。
# (学管专员修改排课)操作步骤
1、打开课程管理>>学术辅导课,点击“更多功能”按钮,点击“修改”按钮。

2、在“按学生”的修改弹框页面,可操作修改“科目、课程名称、辅导类型和上课时间”。点击“提交”按钮,修改成功。

3、在“按套餐”的修改弹框页面,可操作修改“科目、学生、课程名称、辅导类型和上课时间”。点击“提交”按钮,修改成功。

4、在学术辅导列表点击“查看”按钮,查看最新修改的数据;课程日历的辅导课排课也同步更新。