# 「学生服务」模块用户手册
TIP
学生服务模块用于管理学生在各个学习阶段的服务反馈,包括首课阶段、课中阶段和结课阶段。
# 1. 首课反馈
学生完成首次课程后(教务确认上课),自动生成数据在“首次课程服务统计表”,由销售进行首课反馈,各部门主管进行处理,并最终由分校长闭环。
# 1.1 全国教学服务总监:配置反馈类别
角色:全国教学服务总监
操作步骤:
- 操作入口:学生服务 → 意见反馈类型管理表 -【新增】、【修改】
- 系统中已经预置了当前业务所需的类别。
- 如后续有变更,由全国教学服务总监在本列表中【新增】、【修改】即可。
# 1.2 销售端:录入首课反馈
# 1.2.1 常规情况:自动生成待录入的首课反馈
角色:销售专员、销售组长、销售主管
操作步骤:
- 操作入口:学生服务 → 首课反馈 → 首次课程服务统计表 -【录入】

- 在录入页面填写反馈信息:

- 反馈分类:选择“表扬”、“意见与建议”或“投诉”
- 反馈原因:填写具体反馈内容
- 附件:可上传相关证明文件,也可以不填
- 点击【提交】,完成录入。此时“销售服务反馈已添加”的状态会自动更新为“是”,同时,可在“首课-我的学生服务反馈”中查看已录入的数据。


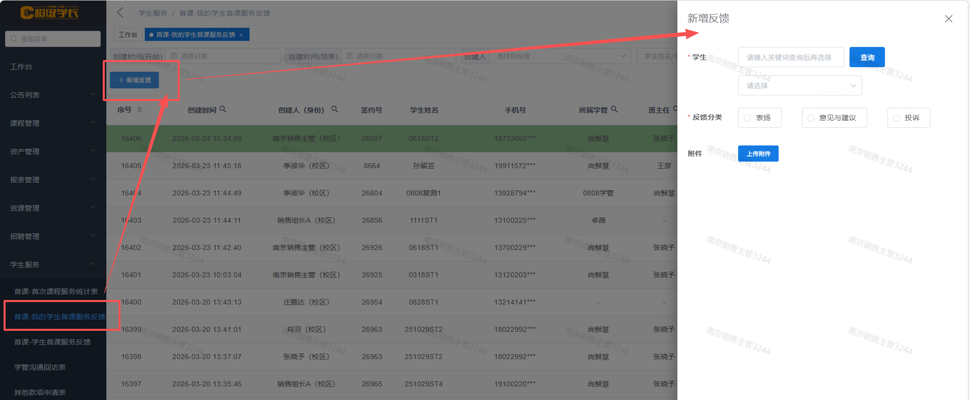
# 1.2.2 特殊情况:临时为学生添加首课反馈
操作步骤:
- 操作入口2:学生服务 → 首课反馈 → 我的学生首课服务反馈 -【新增反馈】

# 1.3 管理端:处理首课反馈
适用角色:分校长、销售主管、学管主管、教师主管
操作步骤:
操作入口:学生服务 → 首课反馈 → 我的学生首课服务反馈-【处理】
在列表中找到需要处理的反馈记录(可通过“待处理”状态筛选)

根据反馈分类进行不同操作:
# 1.3.1 表扬类
点击【处理】,进入详情页,系统自动将状态更新为“已读”。如有需要,也可添加回访。不添加回访也不影响“已读”状态。

# 1.3.2 投诉/意见与建议
处理人说明:
反馈类型=老师:
老师身份为“学管、班主任”,则需学管主管、教师主管、分校长处理

老师身份为“授课老师”,则需学管、教师主管、分校长处理

老师身份为“顾问老师”(即学生的归属顾问),则需学管、销售主管、分校长处理

老师身份为“其他老师”中的“学管、财务、校长、教务、市场、顾问”,则需学管、分校长处理

反馈类型=其他:需学管主管、分校长处理
各部门主管、分校长均可添加回访记录
最终由分校长进行闭环处理,选择“正常完结”或“强制完结”。

提交后,处理结果将同步更新到各端口。

数据权限说明:
- 总校长、全国教学服务总监、总部客服、服诺对接人:可查看、导出全国数据
- 全国学科教学总监:可查看、导出全国学科校区数据
- 大区经理:可查看、导出本大区的反馈数据
- 校区内:
- 分校长/学管主管/销售主管,可查看、导出本校区所有反馈数据
- 销售组长可查看本人及下级数据
- 学管专员/销售专员可查看本人数据
# 1.4 查看首课反馈统计
适用角色:总校长、全国教学服务总监、总部客服等
操作步骤:
操作入口:学生服务 → 首课-首次课程服务统计表

支持表头快捷筛选。
- 3天内反馈:开课后3天内添加的反馈
- 4-7天反馈:开课后第4-7天添加的反馈
- 超过7天反馈:开课后第8天及以后添加的反馈
主管及以上权限支持导出。点击【导出EXCEL】,可将数据导出为Excel文件
# 2. 课中反馈
当学生完成约50%课程后,系统自动生成满意度调查任务,在“课中课程服务统计表”中,由学管进行满意度反馈。
# 2.1 学管:录入课中满意度反馈
适用角色:学管专员、学管主管
操作步骤:
操作入口:学生服务 → 课中-课中课程服务统计表-【录入】
注意:需在列表中找到归属学管为本人且“满意度调查已添加=否”的学生记录

在录入页面填写调查信息。除“其他建议”外,所有信息和附件均必填。


点击【提交】,完成录入。数据将同步在“课中-满意度调查表”中生成。学管可【修改】、【查看】、【导出】

# 2.2 学管:修改课中满意度反馈
适用角色:学管专员、学管主管
操作步骤:
操作入口:学生服务 → 课中-学生满意度调查表 -【修改】
只能修改“归属学管=本人”的数据

修改完成后点击【提交】,数据会同步更新至各端口。
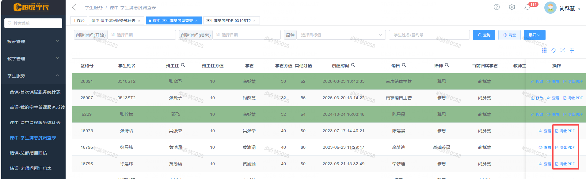
# 2.3 学管:导出满意度调查详情
适用角色:学管专员、学管主管
操作步骤:
操作入口:学生服务 → 课中-学生满意度调查表 -【导出PDF】

点击后,可预览导出的内容。
点击【下载PDF】,可将该文档下载为PDF格式。

# 2.4 导出满意度调查总表
适用角色:学管主管及以上权限
操作步骤:
操作入口:学生服务 → 课中-学生满意度调查表-【导出Excel】

筛选需要导出的数据
点击【导出】,系统将生成Excel文件
# 2.5 查看课中反馈统计
适用角色:总校长、全国教学服务总监、分校长、学管主管等
操作步骤:
操作入口:学生服务 → 课中-课中课程服务统计表

列表展示字段说明:
- 3天内反馈:调查任务生成后3天内添加的反馈
- 4-7天反馈:调查任务生成后第4-7天添加的反馈
- 超过7天反馈:调查任务生成后第8天及以后添加的反馈
底部统计数据可查看各时间段反馈的已添加/未添加数量
点击【导出EXCEL】,可将数据导出
# 3. 结课反馈
在学生完成所有课程后,系统自动生成待回访的结课反馈,由总部客服录入学生对校区整体服务的评价,并由分校长处理闭环。
# 3.1 总部客服:录入结课回访
适用角色:总部客服
操作步骤:
- 操作入口:学生服务 → 结课反馈 → 总部结课回访 -【处理】

- 在列表中找到需要处理的记录(可通过“课程回访状态”筛选)。如果系统卡顿,建议先选择校区,再进行处理。
- 点击操作列的【处理】

- 填写信息后,点击【提交】,完成处理
# 3.2 分校长:填写校区处理意见
适用角色:分校长
操作步骤:
操作入口:学生服务 → 结课- 总部结课回访-【处理】
“校区处理意见=待处理”的记录需分校长【处理】

点击操作列的【处理】,在“校区处理意见”框中填写处理意见(必填,500字以内)

点击【提交】,系统自动生成数据,展示在“结课-老师问题汇总表”中。每个老师单独展示一条数据。
# 3.3 查看老师问题汇总
适用角色:各角色根据权限不同可查看相应数据
- 学管主管:查看本校区“存在问题=学管”的数据
- 教师主管:查看本校区“存在问题=教学”的数据
- 教师组长:查看本人及下级老师的数据
- 教师专员/学管专员/教务:查看老师姓名=本人的数据
操作步骤:
操作入口:学生服务 → 结课-老师问题汇总

列表展示各老师在结课回访中被反馈的问题统计
点击【导出】,可将数据导出为Excel
# 4. 相关报表
# 4.1 校区服务评价得分表
此报表汇总了首课、课中、结课各阶段、各岗位的服务评价结果,可用于了解校区整体服务质量。

适用角色:总校长、分校长、学管主管、教师主管等
操作步骤:
- 操作入口:学生服务 → 校区服务评价得分表
- 列表展示以下统计维度:
- 首课反馈:
- 表扬/意见与建议/投诉的数量
- 正常完结/强制完结的数量
- 课中反馈:
- 满意度评分次数
- 满意度平均分
- 满分率(满分率=满分评价次数/总评价次数)
- 结课反馈:
- 满意/还行/一般/不满意/无效回访的数量
- 首课反馈:
- 点击统计数字,可跳转查看明细数据(系统将自动筛选对应条件)
- 支持列表数据导出。点击【导出】,可将当前数据导出为Excel文件
# 4.2 超学服务质量反馈列表
学生扫码填写问卷后提交的数据,自动出现在本列表,由总部客服处理。
适用角色:总校长、全国教学服务总监、全国学科服务总监、总部客服、分校长
操作步骤:
操作入口:学生服务 → 超学服务质量反馈列表 -【处理】

总部客服点击【处理】,填写处理意见

提交后,数据自动更新。
# 5. 学生档案:可查看服务反馈
学生档案页面集成了该学生的所有服务反馈记录,方便全面了解学生的满意度情况。
适用角色:全国教学服务总监、全国学科服务总监、学管主管、学管专员、总部客服
注:总部客服只有【查看服务反馈】权限,没有其它操作。
操作步骤:
操作入口:教学管理 → 学生档案

在列表中找到目标学生,查看首课、课中、结课满意度。不同的满意度有不同的颜色标识。
- 首课满意度:表扬=满意,意见与建议=一般,投诉=不满意
- 课中满意度:全部0分=满意,有任意6-8分=一般,有任意≤6分=不满意
- 结课满意度:与结课回访中填写的满意度一致
点击操作列的【查看服务反馈】。如学生有多个签约,可点击切换查看不同签约的反馈

# 6. 工作台待办卡片
- 首课反馈待处理
适用角色:分校长、销售主管、学管主管、教师主管
操作:点击卡片,自动跳转至“我的学生首课服务反馈”列表,并筛选出待处理的数据
- 总部结课回访待处理
适用角色:总部客服、分校长
操作:点击卡片,自动跳转至“总部结课回访”列表,并筛选出待处理的数据
- 已处理结课待回访
适用角色:总部客服
操作:点击卡片,自动跳转至“总部结课回访”列表,并筛选出符合条件的数据
- 服务质量反馈待处理
适用角色:全国教学服务总监、总部客服
操作:点击卡片,自动跳转至“超学服务质量反馈列表”,并筛选出未处理的数据
← 客户公海